A Mercedes például azzal próbálja egyszerűsíteni a fényszórók javítását, hogy ragasztó helyett visszatér a csavarokhoz, így téve lehetővé azok szétszedhetőségét.
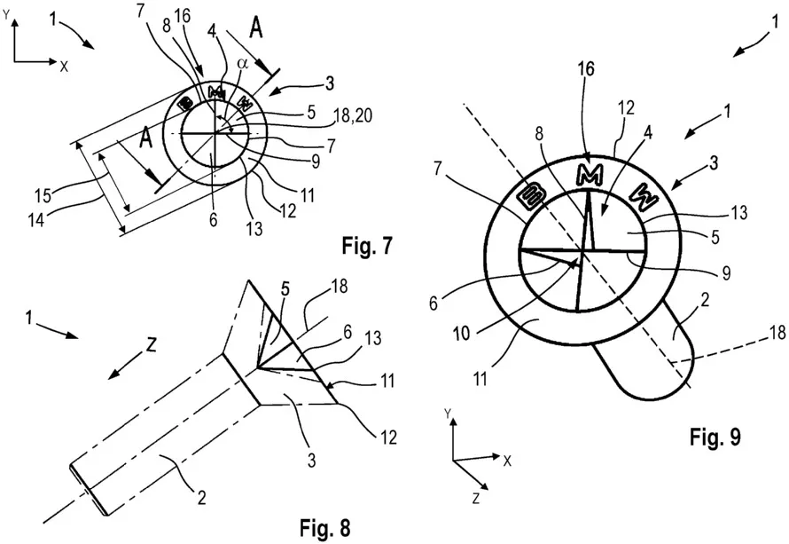
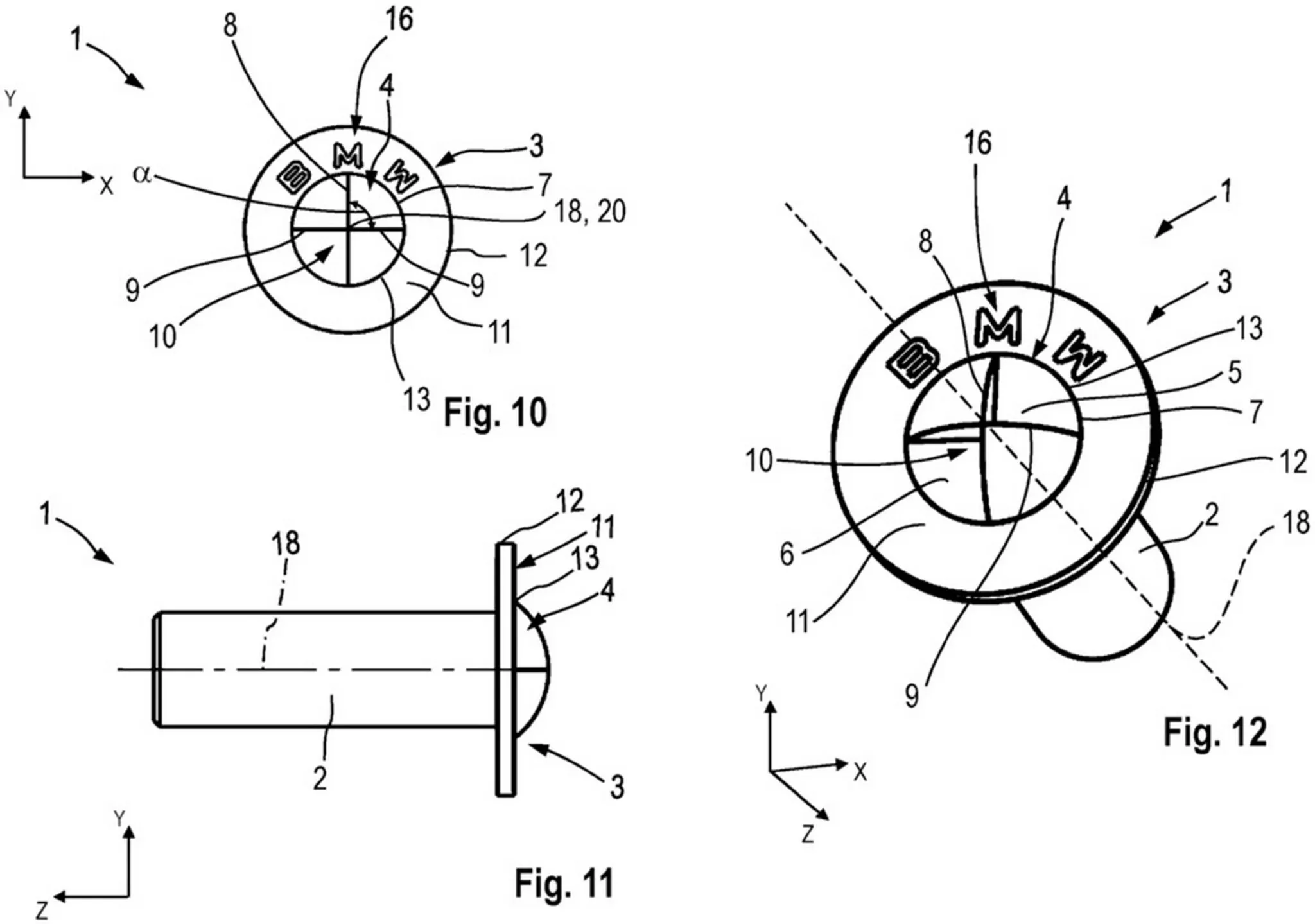
Ezzel szemben legnagyobb riválisa egy olyan furcsasággal kísérletezik, ami alaposan megnehezítheti az otthoni szerelést. Ahogy az Autoblog is beszámolt róla – egyfajta tipikusan németes precizitással és “túlbuzgósággal” –, a BMW olyan szabadalmi rajzokat nyújtott be, amelyeken a saját logójukról mintázott egyedi csavarfejek láthatók. A hagyományos rögzítőelemek használata helyett a márka úgy tűnik, a saját, körcikkekre osztott emblémájából merítő, egyedi kialakítással kísérletezik.
A szabadalom négyféle fejtípust vázol fel: mindegyiket úgy formálták meg, hogy a BMW-emblémát idézze, négy körcikkre osztva. Két szegmens süllyesztett, míg a maradék kettő vagy lapos, vagy kiemelkedő, így egy olyan formát alkotnak, amelyhez szinte biztosan egyedi, méretpontos célszerszámra lesz szükség.


Első ránézésre a márkajelzéssel ellátott csavarfejek a menő dekoráció kategóriát erősítik különösen, ha az utastér látható részein vagy a motortérben bukkannak fel. Ám a szerelők vagy a szabványos szerszámkészlettel rendelkező tulajdonosok számára már korántsem ennyire vonzó a látvány. A szokatlan csavarminták azt jelentik, hogy a hétköznapi szerszámok hasztalanok, és bárki, aki hozzá szeretne férni az érintett alkatrészekhez, kénytelen lesz BMW-specifikus felszerelést beszerezni.
Néhányan rámutattak, hogy az utángyártott alkatrészek beszállítói valószínűleg azonnal piacra dobnák a kompatibilis biteket. Pár Reddit-felhasználó még azt is megkockáztatta viccesen, hogy az AliExpressen és a Temun hamarabb bukkannának fel a hamisítványok, minthogy a BMW csavarjai egyáltalán autóba kerülnének – ami, valljuk be, egy reális forgatókönyv.
Persze, hogy ezek a csavarok valaha gyártásba kerülnek-e, azt teljesen bizonytalan. Az autógyártók rengeteg olyan szabadalmat védetnek le, amelyek sosem hagyják el a tervezőasztalt, de a biztonság kedvéért bejegyeztetik, ha később mégis elindulna a fejlesztés.

