A szénszálerősítésű műanyag kompozitok több évtizede örvendenek népszerűségnek a versenyautók és exkluzív sportkocsik gyártóinak körében. A könnyű, mégis szilárd anyag egyszerre alkalmas a tömeg csökkentésére és a szerkezet merevítésére, csak hát rettentő drága, és újrahasznosítani sem lehet.
Az utóbbira részben már talált megoldást az autóipar, amikor megkezdték a hulladékká vált karbonlemezek aprítását és formába préselését, most pedig úgy tűnik, a költségeket is sikerülhet visszafogni – legalábbis ezt ígéri a Mazda egyik frissen benyújtott szabadalma.




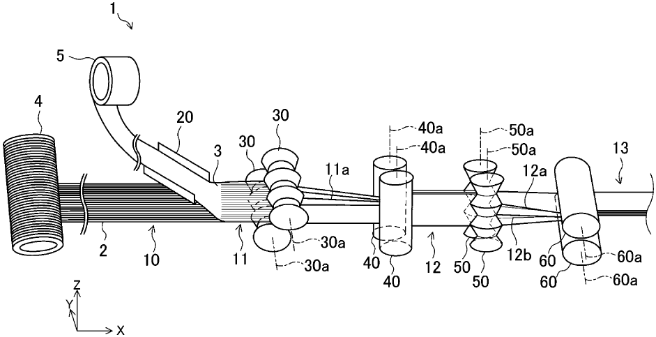
A problémát az jelenti, hogy a vékony szénszálas lemezeket műgyantával kell átitatni, és úgy egymásra rétegezni. Ez azonban nehezen automatizálható, munkaigényes és időt rabló folyamat. A Mazda szerint viszont ha úgy kezelnénk a karbonlapokat, mint a hajtogatott tésztát, gyorsabban és olcsóbban lehetne gyártani a paneleket.
Elképzelésük szerint az első két, átitatott réteget egy gépbe helyezik, amely elkezdi azt cikcakkban összehajtogatni, amit utána egy görgősoron kipréselnek, majd a folyamatot 90 fokkal elforgatva megismétlik. Így számtalan réteget kapunk, köztük egyenletesen eloszlatott műgyantával, anélkül, hogy közben vágni és mozgatni kellett volna a lapokat. Ugyanúgy készíthetünk mondjuk pogácsát, csak abból nem építenek utána autót.
A Mazda hozzáteszi, hogy bármilyen hasonló kompozit anyaggal, azaz pl. üvegszál-erősítésű műanyagokkal is működhet az eljárás.
Ha valaha megvalósul ez a gyártási eljárás, és tényleg érdemi költségcsökkentést eredményez, az forradalmasíthatja az autógyártást: a tömeg csökkentése nemcsak a menetdinamikát, hanem a fogyasztást és a károsanyag-kibocsátást is mérsékli, a merev szerkezet pedig a passzív biztonságot javítja.
Képeinken a Mazda Vision X-Coupé, amelyről alább olvashatsz részletesen:


