A sportos autókra szakosodott Muscle Cars and Trucks érdekes bejegyzésre talált az észak-amerikai szabadalmi hivatal nyilvános regiszterében: a Ford által benyújtott műszaki leírás egy közvetlen befecskendezéses, hidrogén üzemű turbómotor technológiai megoldásait részletezi.




A lényeg egy újszerű keverékképzési megoldás, amellyel a számítások szerint megelőzhető a keverék korai begyulladása, ami – akárcsak a hagyományos fosszilis üzemanyagokkal működő motoroknál – kopogást, teljesítményveszteséget és az erőforrás károsodását okozhatja. A hidrogén sajátosságai miatt jóval szegényebb keveréktartományban használható belső égésű motorban, mint a benzin: optimális működéséhez fajlagosan nagyságrendekkel több levegőre van szükség.
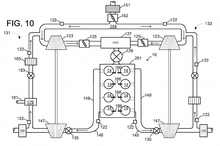
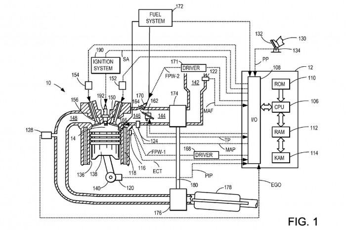
A vázlat szerint az üzemanyagot (hidrogént) nagy nyomású, közvetlen befecskendezéssel juttatnák az égéstérbe, a levegő viszont nem a szokásos módon, hanem a kipufogógáz visszavezető rendszeren (EGR) keresztül áramolna be a hengerbe. A változó vezérlésű EGR szelep lehetővé teszi, hogy a kellő mennyiségű levegő a kellő időben találkozzon a hidrogénnel.
Ha a technológia valaha eljut a gyakorlati alkalmazásig, elméletileg tetszőleges hengerszámú motorban alkalmazható, beleértve akár a Ford nagy lökettérfogatú, nyolchengeres motorjait is, amelyeket a cég észak-amerikai gyártású teherjárműveiben, illetve a Mustang sportkocsiban alkalmaznak. Ezeknek a folyamatosan szigorodó károsanyag-kibocsátási normák miatt meg vannak számlálva a napjaik, ám ha sikerülne őket hidrogén üzemre átállítani, CO2-, NOx– és koromrészecske-kibocsátás nélkül folytathatnák pályafutásukat.



