Híresztelték, cáfolták, majd legutóbb megerősítették, hogy a  Mazda MX-30 hamarosan forgótárcsás fedélzeti áramfejlesztőt kap, ami megnöveli a modell hatótávolságát.

5 fotó

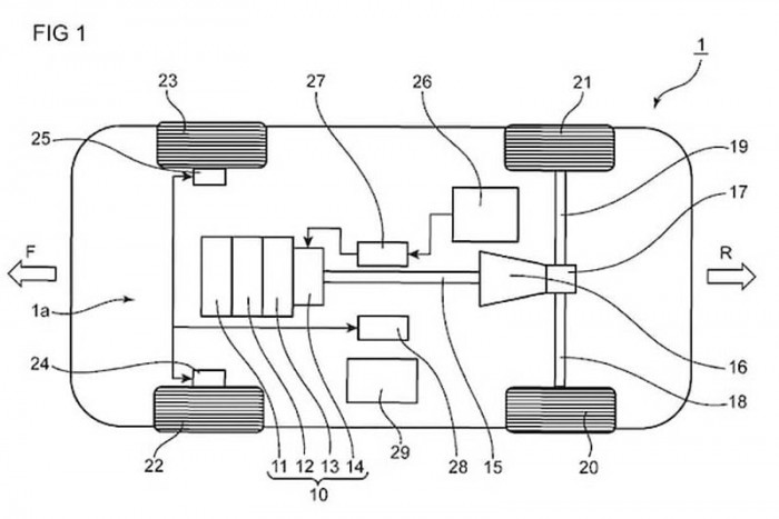
Ezúttal azonban nem erről van szó, hanem egy ténylegesen Wankel-motorral hajtott sportkocsiról. A sematikus ábrán jól látható, hogy a háromtárcsás motor közvetlenül hajtja a hátsó kerekeket; fogyasztását 48V-os mild hibrid rendszer segítene csökkenteni.

Mindez remekül hangzik, de sajnos kicsi a valószínűsége annak, hogy ebben a formában megvalósulhat: az autóipar nem a nagy teljesítményű benzinmotorok fejlesztése irányába halad, sőt, egyre több gyártó vonja meg a belső égésű technológiától.

Wankel-motoros hibridet szabadalmaztatott a Mazda 6

Egészen más a történet, ha bő másfél évtizeddel ezelőtti koncepcióját megvalósítva hidrogén üzemű Wankel-motorral szereli titokzatos típusát a Mazda. A megvalósulásnak ekkor is csekély az esélye, hiszen a hidrogén ma még csak ígéretes, de a mindennapokban egyáltalán nem praktikus üzemanyag. Középtávon ugyanakkor nagyon is jól hangzana egy ilyen konfiguráció, aminek a megvalósulását mindenképpen segíti a Mazda és a Toyota közötti, egyre szorosabb együttműködés. A Toyota ugyanis gőzerővel fejleszti saját hidrogén üzemű belső égésű motorját, segítségére lehet tehát a Mazdának a megvalósításban.

Wankel-motoros hibridet szabadalmaztatott a Mazda 7