Várhatóan még idén megjelenhet a Ferrari első hibrid járműve. Amedeo Felisa, a Ferrari ügyvezető igazgatója elismerte, hogy valóban dolgoznak az alternatív hajtáson. Mindez azután vált érdekessé, hogy az Európai Szabadalmi Hivataltól kiszivárogtak az olasz sportkocsigyártó tervei.

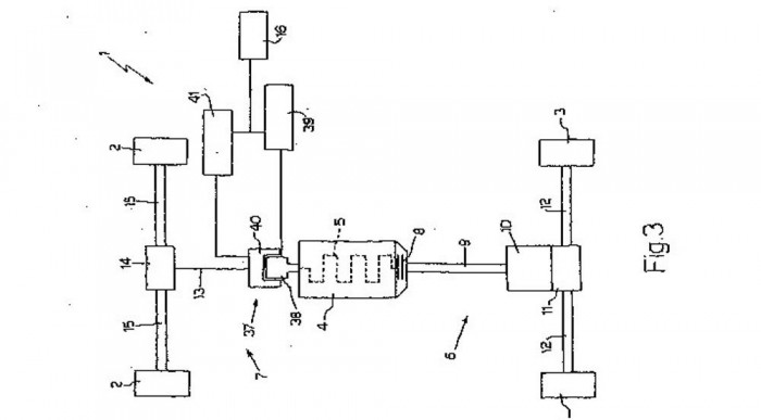
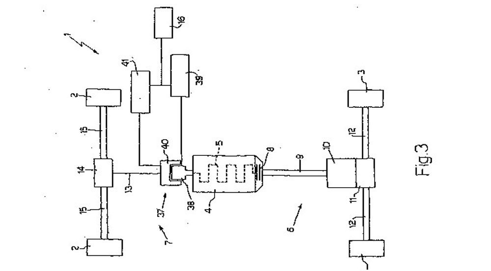
A Ferrari elképzelései szerint villanymotorokat építenének autóikba az első kerekek hajtására. Az első és középmotoros modellekhez egyaránt használható rendszer elsősorban nem a teljesítmény fokozására szolgálna, hanem csúszós útfelületen javítana az autó biztonságos viselkedésén, amely ekkor 4×4-esként üzemelne. A vezető dönthetne úgy is, hogy kikapcsolja.

Kisebb fogyasztás, biztonságosabb közlekedés
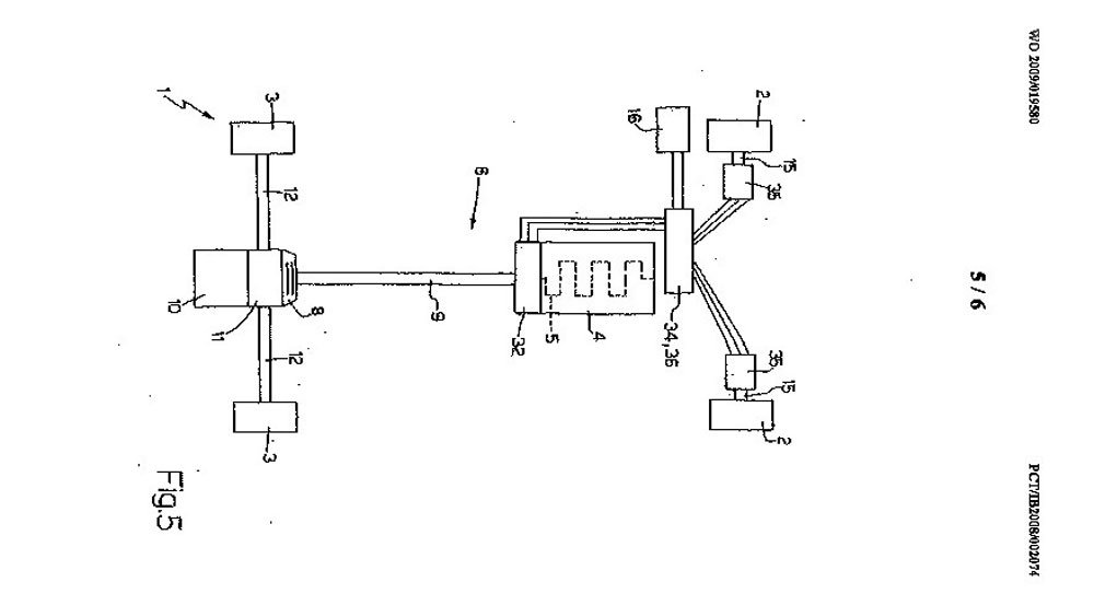
Középmotoros változathoz is
Orrmotor és 4x4
Hivatalosan is elismerték
4 fotó
Középmotoros változathoz is

Középmotoros változathoz is

Középmotoros változathoz is


Egy amerikai lapnak adott interjúban Felisa elárulta a Ferrari keményen dolgozik azon, hogy megfeleljen az egyre szigorodó emissziós normáknak. Kifejtette V8-as és V12-es motorjain többféle újítást próbálgat a cég, de Kaliforniában már kapható bioüzemannyaggal működő modelljük. A lehetséges fejlesztési irány lehet a turbófeltöltés alkalmazása, de a vezető szerint csakis olyan újítást alkalmaznak, ami nem befolyásolja a Ferrari vezetési élményt.

Felisa végül utalást tett rá, hogy az említett hibrid rendszer hamarosan megjelenhet. Majd az újság kérdésére konkretizált a bemutatót illetően. “Nem Frankfurtban” – mondta, “De nem sokkal később, talán egy amerikai show-n.” Vagyis várhatóan decemberben a Los Angeles-i Autókiállításon lehullhat a lepel a félig elektromos hajtású Ferrariról, amely szerepet kap a Ferrari ambiciózus terveiben, hogy 40 százalékkal csökkentsék járműveik szén-dioxid-kibocsátását.