A légzsák tucatnyi formában köszön vissza korunk autóiban, pedig első piacra dobása után úgy tűnt, ez az ötlet felkerül az ambiciózus, de bukásra ítélt fejlesztések polcára. A Mercedesnél szerencsére nem így gondolták, és addig reszelték, csiszolták a légzsák koncepciót, amíg az autóipari alaptétellé nem vált.
A következő lista ezt az utat, a jövőt, valamint a vadhajtásokat szedi tíz pontba.
Több kontinensen született
A légzsákok története az 1950-es évekig nyúlik vissza, az amerikai feltaláló John W. adott be először ilyen jellegű szabadalmat, de az ő verziója még sűrített levegővel működött. Jaszuzaburou Kobori japán mérnök már a modern, ma is ismert pirotechnikai elven működő megoldás alapjait fektette le, de a szériagyártást végül a General Motors érte el először, Allen K. Breed fejlesztésének köszönhetően. Breed ütközésérzékelő szenzorával már elég gyors volt a sűrített levegős szerkezet is. 1974-ben már rendelhető extraként kínálták a légzsákot, és három év alatt több mint 10 000 autóba került be az újfajta biztonsági eszköz.
Csakhogy az emberek inkább a biztonsági öv helyett, és nem amellett használták, a nagy méretű légzsákok pedig nem hozták azt a hatást, amit elvártak tőlük.
Majdnem rakéta
A légzsákot nitrogén fújja fel, amely nátrium-azid és salétromsó keverékéből keletkezik. A robbanásszerűen terjedő gáz körülbelül 300-320 km/órás sebességgel 2-3 századmásodperc alatt lövi ki a precízen behajtogatott zsákot, ami felfújódása után azonnal ereszteni kezd, ezzel is tompítva az ütközés erejét. A villámgyors nyitás miatt működhet, de pont emiatt veszélyes is, ha nem megfelelő távolságról, az öv által visszatartva érkezünk a robbanó légzsák közelébe, az komoly sérüléssel járhat.
Ennek ellenére sokan viccesnek gondolják, ha valaki alatt berobbantják az alkatrészt.
A németek vitték tökélyre

A teszteléshez használt egyik prototípus, az ESF 22-es 1973-ból
Amíg a General Motors már szériafelszereltségként kínálta, a Mercedesnél csak teszteltek, teszteltek és teszteltek, csak autós töréstesztből 250-et végeztek el. 1967-től egészen 1981-ig csiszolták a koncepciót, aminek a légzsák és a biztonsági öv összehangolt használata volt a lényege. Ekkor kapta a légzsák a Supplemental Restraint System (kiegészítő visszatartó rendszer) nevet, az „SRS” mozaikszót.
A Mercedesnél tehát a jó ötletekből csináltak használható terméket, a németeknek köszönhető a légzsák szakadásálló szövetanyagának kifejlesztése, felfúvódási tulajdonságainak tökéletesítése, valamint annak megvalósítása, hogy a komplett rendszer elférjen a gépkocsi kormányában. Először 1981-ben volt rendelhető a rendszer, vagyis a légzsák és az övfeszítő együtt, a Mercedes S-osztály felszereltségi opciójaként.
1991-re már vezetőoldali légzsákkal készült a Mercedes-Benz által gyártott személygépkocsik 28 százaléka. 1992-ben a márka autói alapfelszereltségének részévé vált ez a fontos biztonsági berendezés.
A Volvo villantotta, majd sutba dobta – gyalogoslégzsák

2012-ben újabb hír erősítette meg a fejekben a biztonságos Volvókról élő képet, a svédek előálltak a gyalogoslégzsákkal, a friss Volvo V40 látványos szerkezetet kapott. Az autó elejébe ágyazott hét érzékelő jeleket továbbít a vezérlőegységnek. Amikor az autó egy objektummal lép fizikai kontaktusba, a jelek módosulnak. A vezérlőegység kiértékeli a jeleket, és ha emberi lábként értelmezi a jelek által továbbított információkat, kinyílik a gyalogoslégzsák.
A rendszer 20 és 50 km/órás sebesség között aktív, mivel a gyalogosgázolásos balesetek 75 százaléka 40 km/óránál alacsonyabb sebességen történik. Ki volt ez találva, de vélhetően túl drága, túl bonyolult és túl felesleges volt ahhoz, hogy folytassák, az XC90-el induló új modellcsaládból már egyik típus sem örökölte ezt a különlegességet. Egyes hírek szerint a Subaru tervezi a gyalogoslégzsák újabb bevezetését.
Takata, a bukott légzsákgyártó

A japán Takata eddig mintegy 70 millió autót hívott vissza légzsákjainak az ellenőrzésére világszerte, ebből több mint 40 milliót csak az Egyesült Államokban.
A Takata által gyártott légzsákokkal előfordult már, hogy nem fújódtak fel, vagy rosszul nyíltak ki és emiatt elszakadtak. Olyan esetekről is tudni, amikor a légzsákokat felfújó pirotechnikai eszköz robbanótöltete idővel nedvességgel szívta meg magát, ami instabillá tette a vegyületet, és az eredetileg tervezettnél nagyobb erejű, repeszképző robbanást okozott.
A légzsákok meghibásodása miatt korábbi adatok szerint globálisan 17-en, az Egyesült Államokban 11-en meghaltak és mintegy 180-an megsérültek.
2017 nyarán végén a Takata csődvédelmet kért Japánban és az Egyesült Államokban, miután a cég több mint 9 milliárd dolláros (közel 2500 milliárd forint) veszteséget szenvedett el hibás légzsákjai miatt, amelyek az autóipar eddigi legnagyobb visszahívási hullámát eredményezték.
Légzsák az üvegtetőhöz

Minden szegmenst le kell fedni, a biztonságot mindig lehet fokozni! Tudják ezt a Hyundainál, ahol direkt a panorámatetőkre fejlesztettek légzsákot. Az ok? 2000 és 2015 között az Egyesült Államokban mintegy 260 személy sérült meg különböző balesetekben amiatt, mert kocsija relatíve védtelen, üvegből készült panorámatetővel rendelkezett.
A 8 ezredmásodperc alatt kinyíló lufi hatalmas felületet fed le, és fejlesztése során komoly problémát jelentett a helyszűke. A Hyundai megoldása azonban állítólag elfér az üvegfelület és az árnyékoló között, így nem rabol extra helyet a beltérből.
Kabriólégzsák

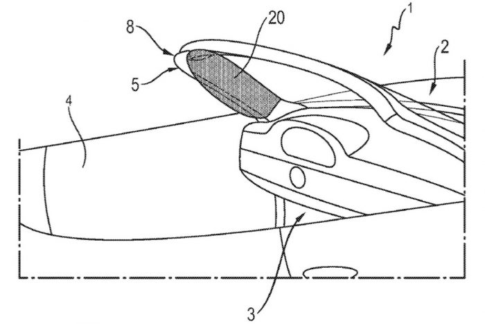
Ha se üveg, se tető, akkor is jó lenne légzsákot alkalmazni, gondolták a Porsche mérnökei. Az Egyesült Államok Szabadalmi Hivatalánál benyújtott igénylés alapján úgy tűnik, a németek kitalálták, hogyan tehetnék még biztonságosabbá autóikat – legfőképp a kabriókat. Az ötlet nem túl csavaros: az A oszlopban (szélvédőoszlop) kell elhelyezni a légzsákot, amely így (részben) pótolhatná a függönylégzsák hiányát.
Külső lufival is kísérleteztek

A neves autóipari beszállító és légzsákspecialista TWR Automotive egy olyan rendszer fejlesztését jelentette be még 2013-ban, amely harminc ezredmásodperc alatt mintegy két méter hosszú, hetven centiméter magas, arasznyi széles védvonalat von a két jármű (vagy az oldalirányban csúszó jármű és a téglafal, netán villanyoszlop) közé. Mivel ebben az esetben a becsapódás pillanatában már eleve késve nyílna a légzsák, muszáj gondoskodni az előzetes, prediktív aktiválásról. Ehhez a TWR kamerákat és radarokat használna fel: ezek segítségével lehetne megállapítani, mikor kell működésbe hozni a hatalmas, kétszáz literes légzsákot. 2020-ig már csak két év van, kíváncsian várjuk, lesz-e ebből a fejlesztésből valami, vagy megrekedt a projekt kísérleti fázisban.
Központi légzsák
A General Motors fejlesztése egy központi légzsákkal szaporította volna a biztonsági felszerelések számát, de úgy tűnik, ez is hasonló sorsra jutott, mint a gyalogosvédő légzsák, szép csendben eltűnt. Lényegében ez is egy oldallégzsák, csak épp nem a jármű ajtaja felől, hanem a két ülés között nyílik ki, a vezető ülésbe építik be. Elsősorban akkor lehet hasznos, ha mindkét első ülésen utaznak és oldalról történik a baleset, a két utas feje összecsapódna. Ám akkor is működésbe léphet a csőszerű szerkezet, ha csak a sofőr utazik az autóban, ilyenkor is csökkentheti a gerincre, csigolyákra ható terhelést.
Lesz szükség a jövőben is légzsákokra?
Az autonóm közlekedés széles körű elterjedése előbb-utóbb bekövetkezik, így minden megváltozik, amit ma autózás néven ismerünk. Nem kell a kormányt fognunk, sőt az út felé sem kell fordulnunk, ezért a légzsákok elhelyezését is radikálisan át kell gondolni. Mert azért balesetek nyilván lesznek, erre a feladatra talán az ülésbe épített, ütközés során az utast körbeölelő légzsák tűnik a legjobb megoldásnak, mert így a védelem független az utas aktuális pozíciójától.
