Érdekes innovációt védetett le a BMW a Német Szabadalmi és Védjegy Hivatalnál – vette észre a Carbuzz. Lényegében aktív aerodinamikai elemekről, illetve azok működéséről van szó. Nem újdonság, hogy az autógyártók az autó felhasználási feltételeihez igazítják egyes karosszériaelemek működését, amelyek csökkenthetik a légellenállást vagy épp növelhetik a legszorítóerőt, 30-40 éve is voltak ilyenek, ma pedig szinte általánosak a sportautóknál.

A BMW újítása abban hoz újat, hogy nem hidraulikusan működtetné az aeroelemeket, sőt a lényeg talán az, hogy maguk az elemek nem, vagy nemcsak a helyzetüket változtatják meg, hanem az alakjukat is.

A 40 éven felüliek emlékezhetnek rá, hogy a Mézga család című magyar rajzfilmsorozatban a család tinédzser gyermeke, Aladár egy szifonnal (nem tudom, hogy hab vagy víz volt) fújta fel űrhajóját, amellyel távoli világokba utazott. Valami ilyesmiről van itt is szó.

Ahogy a szabadalmi leírás fogalmaz: a találmány egy légvezető rendszerre, illetve az ahhoz használatos módszerre vonatkozik, amelynek segítségével a jármű keresztirányában elhelyezett spoiler, perem egy behúzott nyugalmi helyzet és egy kinyújtott helyzet között elmozdítható, úgy, hogy a gépjármű aerodinamikai viselkedése javítható legyen.

Ebből persze még nem következik az újítás érdekessége, az a hosszabb leírásban szerepel, vagyis, hogy különböző kamrák lennének, amelyeket főként levegővel vagy adott esetben folyadékkal töltenének meg. A levegős megoldáshoz egy kompresszort és tartályt is beépítenének.

Egy merev spoilerelem támasztaná alá a felfújható/hajlékony elemet, így használaton kívül is visszafogottabb megjelenésű lehet, így amikor a spoilerre már nincs szükség, a levegőt kiengedik.

2 fotó

Egy felfújható rendszerrel a spoiler alakja és mérete is módosítható lenne az aeroigényektől függően, egyszerűen a rendszerben lévő nyomás megváltoztatásával vagy különböző kamrák használatával. A vezérlés pedig történhet a gyorsulás, a sebesség, a kormányszög, a rugó/csillapító beállításai, vagy akár az út lejtése/hajlásszöge alapján is.

A leírásban azt is egyértelművé teszi a BMW, hogy a karosszéria részeként és attól különálló elemként szereplő spoilereknél is használnák, a légellenállás csökkentésére, illetve az „érintkezési nyomás” növelésére.  

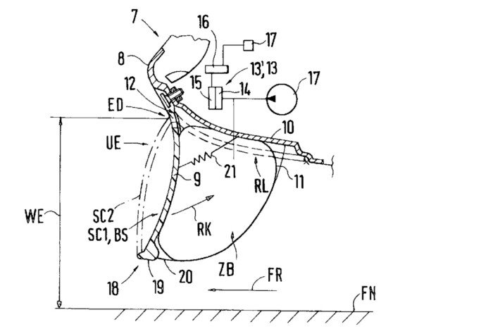
A szabadalmi rajzokon egy csomagtartóra szerelhető szárny látható, illetve egy, az első lökhárító alól lenyíló elem. Az olvasható ki, hogy részben hőre lágyuló poliuretán és a 3D nyomtatás használatával készülhetne a spoiler, megjegyezve, hogy ez a szabadalom célja, hogy olcsón lehessen gyártani. A kompresszoros rendszer előnye, könnyebb lehet a karbantartása és kisebb a tömege, mint a pneumatikus rendszereké.

Mézga Aladár ötletét használná a BMW 3

Fotó: Deutsches Patent- und Markenamt

Teherautókon, buszokon a fékek miatt, terepraliversenyeken a keréknyomás szabályozásához használnak légkompresszort, a jövőben lehet, hogy az aerodinamikában is szerepet kap.