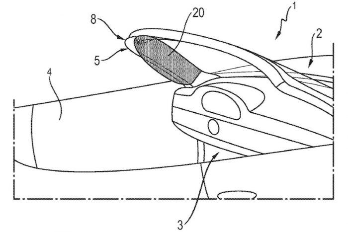
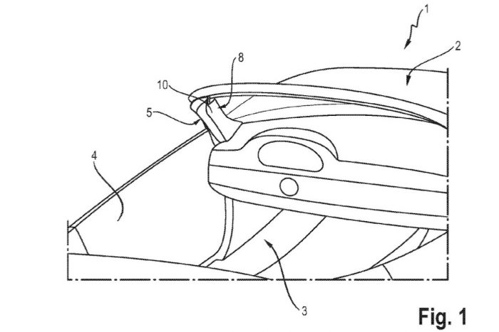
Az Egyesült Államok Szabadalmi Hivatalánál benyújtott igénylés alapján úgy tűnik, a Porsche kitalálta, hogyan tehetné még biztonságosabbá autóit – mindenekelőtt kabrióit.
Az ötlet pofonegyszerű: az A oszlopban (szélvédőoszlop) kell elhelyezni a légzsákot, amely így (részben) pótolhatná a függönylégzsák hiányát.


A Porsche azt állítja: tesztek igazolják a szélvédő(oszlop-)légzsák hatékonyságát az olyan helyzetekben, amikor az utasok előre és oldalra mozdulnak egy ütközés után.
A megoldás szépsége, hogy nem csak kabriókban lehetne alkalmazni – hátulütője viszont, hogy óhatatlanul vastagabbá teszi az A oszlopot, rontja a kilátást, és ezzel fokozza a balesetveszélyt.
