Hamarosan visszatér az élők közé a Bronco, a Ford egykori ikonikus, kompakt szabadidőjárműve. Az autó alighanem pickupként is kapható lesz, ráadásul a jelek szerint leszerelhető karosszériaelemekből építik fel a fülkéjét.

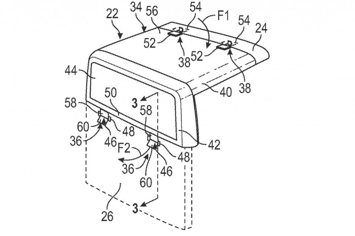
Az alább látható szabadalmi bejegyzéseken egy olyan tetőszerkezet szerepel, amely ötletes reteszek segítségével rögzíthető a fülke vázára. A leírásból az is kiderül, hogy akár egyetlen ember is fel tudja szerelni a tetőt, köszönhetően az önbeálló kialakításnak.

9 fotó

Azt viszont nem árulták el, hogy mi lesz a sorsa a leszerelt tetőlemeznek: a platón kell rögzíteni, vagy otthon kell hagyni a garázsban?

Nem ez az egyetlen karosszériaelem egyébként, amit eltávolíthatunk majd a Broncóról: az ajtókat is leszerelhetjük, a helyettük rögzíthető rács pedig beépített oldallégzsákokat is tartalmaz (nyitóképünkön).

Jöhetnek a kabrió pickupok? 6

Nem ez lenne az első kabrió pickup, elég ha csak a Chevy SSR-re gondolunk. Az alábbi videón megnézheted a retro külsejű járgányt. Kattints és nézd meg 1:00 perctől, ahogy átalakul az autó!