A repülő autó ötlete legalább olyan régi, mint maga az automobil, de a mai napig kevés működő, és még kevesebb praktikus használati értékkel bíró megoldás született a témában.

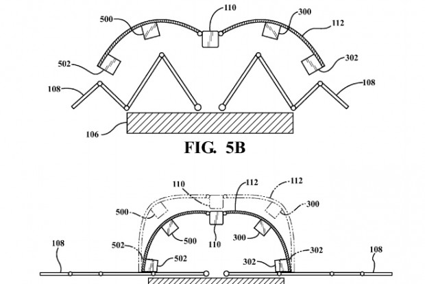
Az egyik legnagyobb akadály a szárnyak elhelyezése: összehajtva, elforgatva igyekeznek tárolni a szárazföldön csak nyűgnek számító komponenseket.

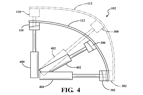
A Toyota erre keresett és a jelek szerint talált ígéretes megoldást, amelyet rögtön le is védetett. Ennek értelmében a karosszéria egy része képes volna alakot váltani. Ehhez rugalmas vásznat vagy hasonló anyagot alkalmaznának, és alattuk lehetne tárolni használaton kívül a harmonikaként összecsukló szárnyakat.

Toyota repülő autó

Mielőtt megijedsz, hogy ilyen rusnya autót szeretne piacra dobni a Toyota, megnyugtatunk: az ilyen szabadalmi rajzokon kizárólag a védeni kívánt elvet kell felismerhetően illusztrálni, minden egyéb csupán jelzés értékű, remélhetőleg beleértve az autó farán elhelyezett propellert is.

És a legfontosabb kérdés: mikor szeretné piacra dobni a repülő autót a Toyota? Alighanem soha, viszont nyilván volt egy remek ötletük, amit szabadalmi védelem nélkül bárki ellophatna, felhasználhatna, ezért inkább levédették – a hírek szerint még 2014-ben egyébként. Magyarul: ha az övék nem lehet, másé se legyen.

fly 01