Vezess
B:
698.0 Ft
D:
737.0 Ft
Márkák
Újautó-tesztek
Hírek
Driver
Haszongépjármű
Forma-1
Magazin
Használt autó
Vezetünk
Kresz
Videó
TechABC - Autós lexikon
Hírlevél feliratkozás
Médiaajánlat
Impresszum
Felhasználás
Adatvédelem
Vezess © 2001-2026
Legfrissebb
Lencsés Csaba
Magyarország alig ismert benzinkútjai
Erdős Norbert
Ezeket az új autókat nem szabad csak úgy lemosni
Erdős Norbert
Az autó lehet csak haza akarta vinni a részeg magyar sofőrt
Erdős Norbert
Lebontják az M7-es autópálya egyik hídját, de senki nem bánja
Újautó-teszt
Magazin
Hírek
Vezetünk
Használt autó
Kresz
Alfa Romeo
Audi
Bentley
BMW
Bugatti
BYD
Chery
Citroën
Cupra
Dacia
DAF
DS
Ferrari
Fiat
Ford
Geely
Genesis
Hennessey
Honda
Hyundai
Ikarus
Ineos
Infiniti
Isuzu
Iveco
Jaguar
Jeep
Kia
Lada
Lamborghini
Land Rover
Leapmotor
Lexus
Lotus
Maserati
Mazda
McLaren
Mercedes-Benz
Mercedes-Benz Trucks
Mini
Mitsubishi
Morgan
Nio
Nissan
Omoda
Opel
Peugeot
Pininfarina
Polestar
Porsche
Renault
Renault Trucks
Rimac
Rivian
Rolls-Royce
Seat
Škoda
Smart
Ssangyong
Subaru
Suzuki
Tatra
Tesla
Toyota
Volkswagen
Volvo
Volvo Trucks
Xiaomi
Zeekr
Hírlevél feliratkozás
B:
698.0 Ft
D:
737.0 Ft
Címoldal
légzsák
#légzsák
Vezess
Jön a napfénytetőlégzsák
A Hyundai újszerű légzsákot fejlesztett, amely segít, ha fejre áll a kocsi, és betörik a hatalmas panoráma-üvegtető.
Vezess
Újabb durva visszahívás a Volkswagennél
A Volkswagen és két kínai leánycége, a FAW-Volkswagen és a SAIC Volkswagen összesen 4,86 millió, Takata-légzsákkal felszerelt autót hív vissza...
Vezess
A műszerfalra tette a lábát, aztán nyílt a légzsák…
Ha az itt következő, rövid történet nem győz meg arról, hogy a lábadnak semmi keresnivalója a műszerfalon, agyilag menthetetlen vagy.
Szörényi András
Mi a helyzet itthon a BMW-s légzsákbotránnyal?
BMW-tulajdonos kollégánk nemrég levelet kapott a Belügyminisztériumtól. 316i-je van, szóval nem gyorshajtás, hanem a Takata-ügyben. Hogy áll itthon a...
Vezess
Sose lesz vége, újabb milliós visszahívás a légzsákok miatt
A Takata újabb 2,7 millió autót hív vissza az általa gyártott légzsákok ellenőrzésére az Egyesült Államokban.
Vezess
Nem hiszel a légzsákokban? Akkor ezt nézd meg!
Azt gondolod, a légzsák amolyan kamu; lehúzás, amit az autós lobbik találtak ki? Adj nekünk két percet, és megtérítünk.
Vezess
Csődbe ment a gyilkos légzsákok gyártója
Csődvédelmet kért Japánban a Takata, a japán autóalkatrész-beszállító vezetése hétfőn döntött a lépésről.
Vezess
Hawaii pert indít a gyilkos légzsákok miatt
Hawaii beperli a Fordot, a Nissant és a Toyotát, amiért autóikba potenciálisan halált okozó Takata légzsákokat építettek be - derül ki abból a...
Vezess
Az autógyártók is fizetnek a légzsákbotrány miatt
A Toyota három másik autógyárral együtt kártérítés fizetésében állapodott meg a Takata légzsákok cseréje miatt ellenük az Egyesült Államokban...
Svékus Gergő
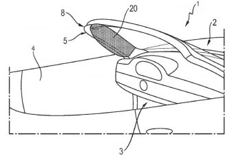
Jön a szélvédőlégzsák!
Újfajta utasvédelmi rendszert szabadalmaztatott a Porsche. A tetőkeret helyett a szélvédőoszlopból bújna elő az életmentő légzsák.
Előző
1
…
4
5
6
…
11
Következő